2024年1月1日起,131项国家标准开始正式实施,其中包括《便携式电子产品用锂离子电池和电池组 安全技术规范》《电动自行车电气安全要求》等32项强制性国家标准,《企业知识产权合规管理体系 要求》《能源管理体系 分阶段实施指南》等99项推荐性国家标准。认证君将这些国标进行汇编整理,供参考。
《便携式电子产品用锂离子电池和电池组 安全技术规范》
(GB 31241—2022)
标准规定了测试的技术方法、技术指标,确定了电安全、环境安全、保护电路安全要求、测试方法及相应的参数,保障了消费者使用电子产品安全。
《电动自行车电气安全要求》
(GB 42295—2022)
标准全面落实《加强电动自行车全链条安全监管重点工作任务及分工方案》部署,规定了防止电动自行车电气着火、触电等方面的安全要求,运用标准化手段规范了电动自行车质量安全。
《耐热玻璃器具的安全要求》
(GB 17762—2022)
标准规定了耐热玻璃器具的产品分类,提出了内表面耐水性、玻璃颗粒在98℃和121℃的耐水性、耐酸性能、耐碱性能等技术要求和相应的试验方法。
《服装用皮革》
(GB/T 42167—2022)
结合我国产品的实际情况,标准规定了服装用皮革的性能要求,对提升我国皮革服装产品档次、保证产品质量具有重要意义。
《农村低压安全用电通用要求》
(GB/T 43055—2023)
标准为农村低压用电安全提供技术支撑,有助于减少农村低压用电电气事故,对保障人民生命安全,进一步推动农村电网基础设施提档升级、助力乡村全面振兴有重要意义。
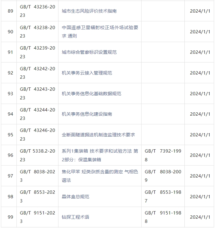
《城市综合管廊标识设置规范》
(GB/T 43239-2023)
标准规定了城市综合管廊标识的设置、制作、安装、验收及维护要求,为规范城市综合管廊标识系统提供了技术依据,有助于提高城市综合管廊维护效率,确保城市综合管廊安全运行。
《企业知识产权合规管理体系 要求》
(GB/T 29490-2023)
新版标准转换过渡期为2年,自2024年1月1日起至2025年12月31日止。过渡期内,对已持有旧版标准认证证书的组织,具备该领域批准资格的认证机构根据其申请,可按照新版标准结合年度监督或再认证审核实施换版审核,也可单独实施换版审核。2024年1月1日至2024年12月31日,可按照旧版标准受理认证申请并实施认证。自2025年1月1日起,所有认证申请应当按照新版标准受理并实施认证。
2024年1月1日起实施的强制性国家标准



2024年1月1日起实施的推荐性国家标准








文章来源:质量与认证,若有来源标注错误或侵犯了您的合法权益,请作者持权属证明联系,我们将及时更正、删除,谢谢。
中证盟认证可提供体系认证(ISO三体系等)、服务认证(商品售后服务认证、职业健康安全管理体系认证、物业管理服务认证等)、产品认证(中国环境标志产品认证、环保产品认证、中国绿色产品认证、中国绿色建材产品认证等)、产品检测等技术服务,能帮助企业提高投标中标概率,申请相关补贴,为产品增加卖点等,有兴趣可联系0757-86229321/15989178915。